产品分类
Product Classification
LZB系列玻璃转子流量计

LZB系列玻璃转子流量计是带有透明锥管、能直接观察介质流动状态的指示型仪表,用来测量清洁、非混浊液体、气体等单项介质的流量。广泛应用于化工、石油、轻工、医药、化肥、环保、冶金等工业生产部门和科学实验单位,仪表具有结构简单、维修方便、价格便宜等优点,在国内外得到了普遍使用。
测量原理
| 流量计测量部分为一根垂直安装的锥形玻璃管(透明管)及在内可以上下移动的浮子所组成,锥管大端向上,当流体自下而上流经玻璃管时,在浮子上、下之间产生压差,浮子在此压差作用下上升。当使浮子上升的力与浮子所受的重力,浮力及粘性力三者的合力相等时,浮子处于平衡位置,即此时为流体的瞬时流量。 | ![]() |
技术指标
量程比 10:1 5:1
准确度 2.5 4
介质温度 普通型4℃-100℃ 防腐型4℃-60℃
防腐材料 接触介质部分采用F4或F46
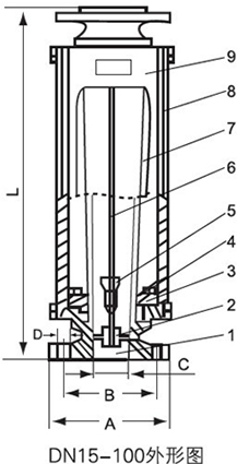
安装尺寸
![]() | ![]() |
| 型号 | A | B | L | C | D |
| LZB-3 | 110 | 132 | 150 | Ø6或M8*1 | 28x24 |
| LZB-4 | 170 | 208 | 238 | ø12 | 40x35 |
| LZB-6 | |||||
| LZB-10 | |||||
| LZB-15 | ø95 | ø65 | ø470 | ø15 | 4-ø14 |
| LZB-25 | ø115 | ø65 | ø470 | ø25 | 4-ø14 |
| LZB-40 | ø145 | ø110 | ø570 | ø40 | 4-ø18 |
| LZB-50 | ø160 | ø125 | ø570 | ø50 | 4-ø18 |
| LZB-80 | ø185 | ø150 | ø660 | ø80 | 4-ø18 |
| LZB-100 | ø205 | ø170 | ø660 | ø100 | 4-ø18 |
流量选择
| 公称通径 DN(mm) | 型号 | 测量范围 | 锥管长度 (mm) | 总长度 (mm) | 准确度等级 | 工作压力 MPa | ||
| 液体 | 气体 | LZB | LZB-F | |||||
| ø 3 | LZB-3 | 0.4~4ml/min | 6~60ml/min | 120 | 150 | 4 | 4 | ≤0.25 |
| 0.6~6ml/min | 10~100ml/min | |||||||
| 1~10ml/min | 16~160ml/min | |||||||
| 1.6~16ml/min | 25~250ml/min | |||||||
| 2.5~25ml/min | 40~400ml/min | |||||||
| 4~40ml/min | 60~600ml/min | |||||||
| 6~60ml/min | 100~1000ml/min | |||||||
| 10~100ml/min | 160~1600ml/min | |||||||
| ø 4 | LZB-4 | 1~10L/h | 16~160L/h | 160 | 238 | 4 2.5 | 4 | ≤1.0 |
| 1.6~16L/h | 25~250L/h | |||||||
| 2.5~25L/h | 40~400L/h | |||||||
| ø 6 | LZB-6 | 2.5~25L/h | 40~400L/h | |||||
| 4~40L/h | 60~600L/h | |||||||
| 6~60L/h | 100~1000L/h | |||||||
| ø 10 | LZB-10 | 6~60L/h | 100-1000L/h | |||||
| 10~100L/h | 160~1600L/h | |||||||
| 16~160L/h | 250~2500L/h | |||||||
| ø 15 | LZB-15 LZB-15F | 16~160L/h | 0.25~2.5m3/h | 350 | 470 | 2.5 | ≤0.6 | |
| 25~250L/h | 0.4~4m3/h | |||||||
| 40~400L/h | 0.6~6m3/h | |||||||
| ø 25 | LZB-25 LZB-25F | 40~400L/h | 1~10m3/h | 2.5 | ||||
| 60~600L/h | 1.6~16m3/h | |||||||
| 100~1000L/h | 2.5~25m3/h | |||||||
| ø 40 | LZB-40 LZB-40F | 160~1600L/h | 4~40m3/h | 430 | 570 | |||
| 250~2500L/h | 6~60m3/h | |||||||
| ø 50 | LZB-50 LZB-50F | 0.4~4m3/h | 10~100m3/h | 450 | ||||
| 0.6~6m3/h | 16~160m3/h | |||||||
| ø 80 | LZB-80 | 1~10m3/h | 50~250m3/h | 500 | 660 | 2.5 | ≤0.4 | |
| LZB-80F | 1.6~16m3/h | 80~400m3/h | ||||||
| ø 100 | LZB-100 LZB-100F | 5~25m3/h | 120~600m3/h | |||||
| 8~40m3/h | 200~1000m3/h | |||||||
上一页:
KD800型玻璃转子流量计
下一页:
LZB-W(WB)系列玻璃转子流量计









